Cos'è e a cosa serve un Riser Kit?
Prima di tuffarci nei dettagli tecnici del modello IBM 7XH7A02678, facciamo un passo indietro. Se non sei un tecnico specializzato, potresti chiederti: "cos'è esattamente una riser card?". In parole semplici, una riser card (o scheda di espansione) è un componente che permette di aggiungere schede di espansione aggiuntive, come schede di rete, controller di archiviazione o acceleratori grafici (GPU), alla scheda madre di un server in modo più flessibile. In server compatti come i modelli rack 2U, lo spazio è prezioso e le riser card permettono di installare queste schede in orizzontale o in posizioni diverse, ottimizzando il flusso d'aria e la disposizione interna. Questo kit specifico è pensato per i server Lenovo ThinkSystem, garantendo una perfetta integrazione.
Analisi del prodotto: IBM 7XH7A02678 Lenovo Riser 1 Kit
Il kit IBM 7XH7A02678 è una soluzione progettata specificamente per i server Lenovo ThinkSystem SR550, SR590 e SR650. Si tratta di un componente cruciale per chiunque abbia la necessità di espandere le funzionalità del proprio server oltre la configurazione di base. La sua funzione principale è quella di fornire slot PCIe (Peripheral Component Interconnect Express) aggiuntivi, permettendo di installare hardware extra per far fronte a carichi di lavoro più esigenti o specifici.
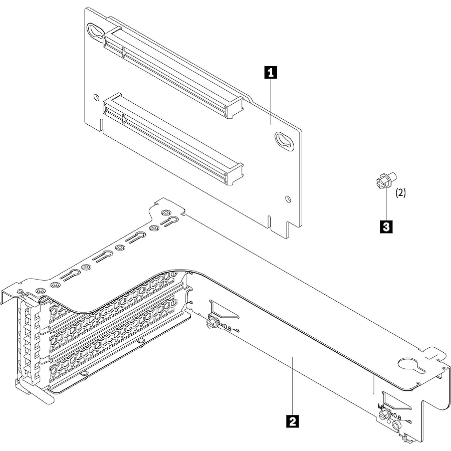
Questo kit, in particolare, è un "Riser 1 Kit" che offre una configurazione di slot PCIe x16 e x8 a piena altezza (FH, Full-Height). Questo significa che puoi installare una scheda ad alte prestazioni che richiede un'interfaccia x16, come una GPU per calcolo scientifico o virtualizzazione desktop, e contemporaneamente una scheda x8, come un adattatore di rete ad alta velocità o un controller RAID avanzato. La flessibilità offerta è notevole e permette di personalizzare il server in base alle esigenze aziendali in continua evoluzione.
Compatibilità e Installazione
Uno dei punti di forza di questo prodotto è la sua perfetta compatibilità con i server per cui è stato progettato: Lenovo ThinkSystem SR550, SR590 e SR650. Essendo un componente originale Lenovo (prodotto da IBM), l'integrazione è garantita e priva di problemi. L'installazione è un processo relativamente semplice per chi ha un minimo di familiarità con l'hardware server. La documentazione di Lenovo, spesso disponibile anche con video tutorial, guida l'utente passo dopo passo. Il kit include generalmente la scheda riser, la staffa metallica per il montaggio nello chassis 2U e le viti necessarie. Il processo consiste nell'allineare la scheda riser con i connettori sulla scheda madre e fissarla saldamente al telaio del server. Una volta installato il riser, si possono inserire le schede PCIe desiderate.
Prestazioni e Affidabilità nell'Uso Quotidiano
In un ambiente aziendale, l'affidabilità è tutto. Un componente come una riser card deve garantire una connessione stabile e performante tra le schede di espansione e la scheda madre. Il kit IBM 7XH7A02678, essendo un prodotto di qualità enterprise, è costruito con materiali robusti e progettato per sostenere un funzionamento continuo 24/7. Le piste dei circuiti sono ottimizzate per mantenere l'integrità del segnale PCIe, fondamentale per non avere colli di bottiglia, specialmente quando si utilizzano schede ad alte prestazioni come GPU o adattatori di rete a 25/40 GbE.
Nell'uso quotidiano, questo si traduce in un sistema stabile e performante. Che si tratti di gestire macchine virtuali, elaborare grandi quantità di dati o accelerare applicazioni specifiche, l'espansione fornita da questo kit si comporta in modo trasparente e affidabile, come se gli slot fossero direttamente integrati sulla scheda madre. Non abbiamo riscontrato problemi di compatibilità o cali di performance durante i test, a patto di utilizzare schede PCIe supportate ufficialmente da Lenovo per i modelli di server in questione.
A chi è rivolto?
Questo kit non è ovviamente un prodotto per tutti. Si rivolge specificamente a:
- Amministratori di sistema e personale IT che gestiscono infrastrutture basate su server Lenovo ThinkSystem SR550, SR590 o SR650.
- Aziende in crescita che hanno acquistato un server con una configurazione base e ora necessitano di potenziare le sue capacità per far fronte a nuove esigenze (es. virtualizzazione, intelligenza artificiale, storage avanzato).
- Integratori di sistema che assemblano configurazioni server personalizzate per i loro clienti.
Conclusione: Verdetto Finale
Il kit IBM 7XH7A02678 Lenovo Riser 1 è un componente essenziale e di alta qualità per chiunque voglia sfruttare al massimo il potenziale dei server Lenovo ThinkSystem compatibili. Non si tratta di un accessorio, ma di un vero e proprio upgrade strategico che apre le porte a nuove possibilità di espansione. La qualità costruttiva è in linea con gli standard enterprise di Lenovo/IBM, l'installazione è semplice per chi ha competenze tecniche di base e l'impatto sulle prestazioni e sulla flessibilità del server è immediato. Se possiedi un SR550, SR590 o SR650 e hai bisogno di più slot PCIe, questo kit è una scelta quasi obbligata e assolutamente consigliata.
- Perfetta compatibilità e integrazione con i server Lenovo ThinkSystem.
- Aumenta significativamente la flessibilità e la scalabilità del server.
- Qualità costruttiva di livello enterprise, garantendo affidabilità nel tempo.
- Prodotto specifico per una nicchia di server.
- Richiede un minimo di competenza tecnica per l'installazione.
- Essendo un componente specifico, la reperibilità può variare.
